Lemieszyk boczny, lewy
Opis
| Numer części |
CP480080
|
|
|---|---|---|
| EAN | 8716106168347 | |
| Jednostka |
Sztuka
|
|
| Marka |
Non Original
|
|
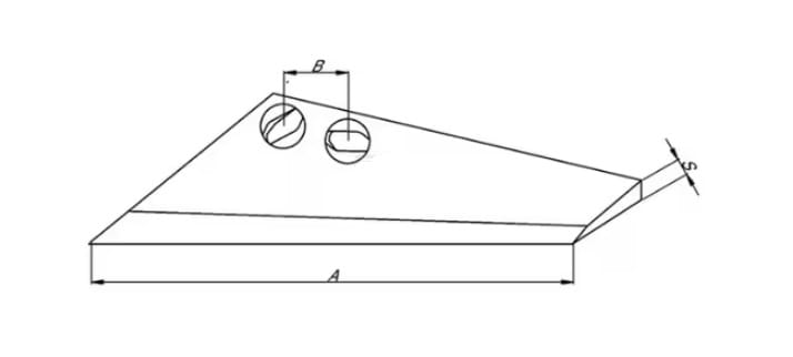
| Ilość otworów montażowych |
2
|
|
| Strona montażu |
Lewa
|
|
| Szerokość |
115 mm
|
|
| Długość |
245 mm
|
|
| Grubość |
8 mm
|
|
| Szerokość otworów montażowych |
10 mm
|
|
| Pasuje do marki maszyn/pojazdów |
|
|
| Typ utwardzenia |
Nie dotyczy
|
|
| Śruby w komplecie |
Nie
|
|
| Rozstaw otworów montażowych |
50 mm
|
